5970-01-082-0152

Aislador de separación Enviar esta página por correo electrónico

Imágenes

Imágenes de referencia de este número de stock nacional
Referencia  del número de existencias nacionales 5970-01-082-0152 Referencia  del número de existencias nacionales 5970-01-082-0152

Número de modelo o pieza: J1940

Precios y disponibilidad

Envíe este formulario para conocer los precios actuales y la disponibilidad de esta NSN.
Número de pieza:
Cantidad:
Dirección de correo electrónico:
Teléfono:
Referencia:
Compañía:
Nombre:

No compartimos ni vendemos su información a nadie.
Privacidad | Letra chica

All major credit cards accepted as well as gov. p-cards

pdf NSN 5970-01-082-0152 Hoja de datos

MRC:
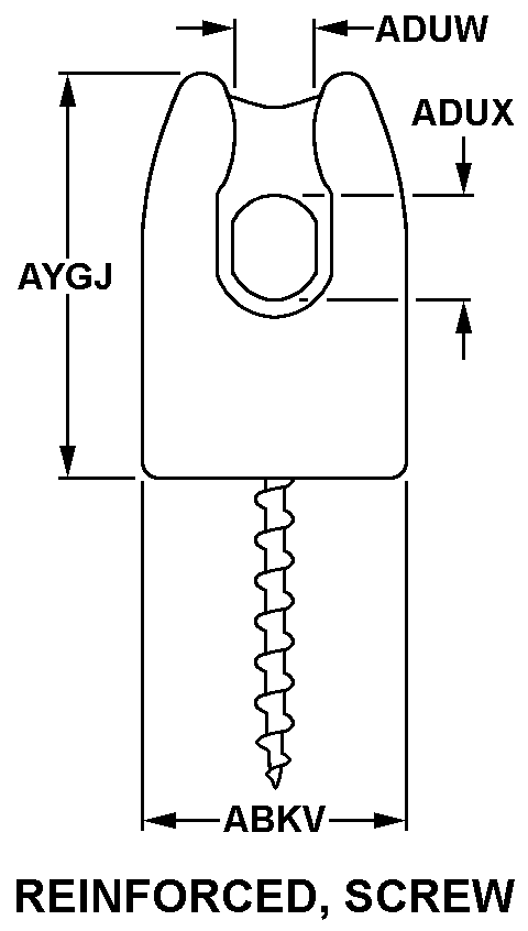
COLOR DEL CÓDIGO DE IDENTIFICACIÓN
COLOR DEL CÓDIGO DE IDENTIFICACIÓN:
AZUL, HORIZONTE
MRC:
DIÁMETRO EXTERIOR
DIÁMETRO EXTERIOR:
1.375 PULGADAS NOMINAL
MRC:
LONGITUD DEL ORIFICIO CENTRAL
LONGITUD DEL ORIFICIO CENTRAL:
0.500 PULGADAS NOMINALES
MRC:
ANCHO DEL ORIFICIO CENTRAL
ANCHO DEL ORIFICIO CENTRAL:
0.375 PULGADAS NOMINAL
MRC:
TIPO Y CANTIDAD DE INSTALACIÓN DE MONTAJE
TIPO Y CANTIDAD DE INSTALACIÓN DE MONTAJE:
1 TORNILLO DE MADERA
MRC:
ALTURA POR ENCIMA DE LA SUPERFICIE DE MONTAJE
ALTURA POR ENCIMA DE LA SUPERFICIE DE MONTAJE:
2.000 PULGADAS NOMINALES
MRC:
MATERIAL Y UBICACIÓN
MATERIAL Y UBICACIÓN:
INSTALACIÓN DE MONTAJE ACERO ERR-100 ERR-100
MRC:
TRATAMIENTO SUPERFICIAL Y LOCALIZACIÓN
TRATAMIENTO SUPERFICIAL Y LOCALIZACIÓN:
INSTALACIÓN DE MONTAJE GALVANIZADO EN CALIENTE ERR-100 ERR-100
MRC:
DESIGNADOR DE ESTILO
DESIGNADOR DE ESTILO:
REFORZADO, TORNILLO
MRC:
CARACTERÍSTICAS DIFERENCIADORAS DEL NÚMERO DE REFERENCIA
CARACTERÍSTICAS DIFERENCIADORAS DEL NÚMERO DE REFERENCIA:
COMO DIFERENCIADO POR EL COLOR DEL CÓDIGO DE IDENTIFICACIÓN
MRC:
--
NIIN:
010820152
MRC:
--
Número de existencias de la OTAN:
5970-01-082-0152
MRC:
--
Vigencia:
N/A
MRC:
--
Unidad de medida:
1 EA
MRC:
--
Desmilitarización:
No
FIIG:
--
FIIG:
A007A0
MRC:
--
INC:
00225
MRC:
--
IMM:
CX
Certified products icon

Todos los productos certificados

El material nuevo de fábrica, el material nuevo, el excedente nuevo, el material revisado, reparable y AS eliminado / usado irán acompañados de un Certificado de conformidad y cualquier otro documento / rastro cuando corresponda. Tenemos una retención récord de 7 años.

Quality inspections icon

Calidad | ISO 9001:2015 + AS9120B

Estamos comprometidos con la calidad y seguimos un sistema de gestión de calidad AS9120. AeroBase Group está certificado por HAZMAT y registrado en DDTC, ITAR y Aviation Suppliers Association (ASA). Todos los productos son inspeccionados al 100%.

Compromiso de calidad »

Shipping icon

Naviero

La entrega de pedidos IN-STOCK se envía el mismo día cuando el pedido se realiza antes de las 2:00 PM EST.

Las fechas de entrega de los artículos NO STOCK son estimaciones basadas en la cartera actual y están sujetas a confirmación en el momento del pedido.

Definición formal

Definición de NSN 5970-01-082-0152

Un aislante que está diseñado específicamente para soportar un conductor o un elemento en un espaciado predeterminado de una superficie de montaje. Puede incluir hardware de montaje y/o conducción.

Usuarios finales Ministerio de Educación: Principales entidades organizativas

Nombre
MOE Code Código de entidad organizativa principal (MOE)
MOE Rule Un código de cuatro posiciones que refleja la responsabilidad de gestión dentro de los servicios militares participantes, agencias civiles, la OTAN y otros países extranjeros.
PICA Un código que indica la actividad principal de control de suministro responsable de establecer objetivos de almacenamiento, controlar los objetivos de almacenamiento y mantener la responsabilidad del artículo para un artículo de suministro. Título corto- pica. Anteriormente gerente de inventario mayorista
DSOR La referencia cruzada del código de origen de reparación del depósito (DSOR) a la actividad de mantenimiento identifica aquellas actividades aprobadas para realizar el mantenimiento a nivel de almacén para los servicios.
User:
AGENCIA LOGÍSTICA DE DEFENSA Agencia LogÍstica De Defensa
MOE:
DS
Rule:
DGX1
PICA:
GX
DSOR:
User:
CANADÁ CanadÁ
MOE:
ZC
Rule:
ZC01
PICA:
ZC
DSOR:

Embalaje y; Dimensiones

MIL-STD codes: http://www.dla.mil/LandandMaritime/.../MILSTD2073Codes.aspx
Tamaño del paquete
Peso del paquete
Peso del artículo
Dimensiones del artículo
Tamaño del paquete:
--
Peso del paquete:
0.1000lbs
Peso del artículo:
--
Dimensiones del artículo:
--
Contenedor
OPI
SPI No.
SPI Rev.
SPC Mkg.
LVL A
LVL B
LVL C
Contenedor:
--
OPI:
O
SPI No.:
SPI Rev.:
SPC Mkg:
00
LVL_A:
E
LVL_B:
Q
LVL_C:
CUSH
MOP
CATEG.
PRES MAT
WRAP MAT
ICQ
THK
TOS
UCL
CUSH DUN:
XX
MOP:
10
PKG:
PRES MAT:
XX
WRAP MAT:
XX
ICQ:
AAA
THK:
X
TOS:
UCL:

Definiciones de códigos de embalaje:

LVL A Code (LVL_A) E

El embalaje se realizarÁ para cumplir con los requisitos de prueba de rendimiento de astm-d4169, ciclo de distribuciÓn 18, nivel de garantÍa 1.

LVL B Code (LVL_B) Q

El embalaje se efectuarÁ de conformidad con el cuadro c.Ii para el nivel de embalaje especificado. el cierre, el sellado y el refuerzo deberÁn ajustarse a las especificaciones apropiadas del contenedor de envÍo.

Código indicador de procedimiento (OPI) O

Se pueden ejercer opciones en cuanto al mÉtodo especÍfico de conservaciÓn o los materiales de embalaje aprobados por el departamento de defensa que se utilizarÁn. no obstante, se conservarÁ el mÉtodo bÁsico de conservaciÓn, se respetarÁn los datos suplementarios y las dimensiones unitarias del envase no se aumentarÁn en mÁs de una pulgada. se otorgarÁ igual o mejor protecciÓn al artÍculo y no habrÁ aumento en el costo del paquete.

Código de marcado especial (SPC_MKG) 00

Sin marcado especial.

Método de conservación (MOP) 10

ProtecciÓn fÍsica.

Importación / Exportar

Clasificación del Anexo B
Número de Anexo B
NAIC Asociación Nacional de Comisionados de Seguros
End Use Un sistema de clasificación para las mercancías exportadas e importadas de los Estados Unidos basado en el uso principal en lugar de las características físicas de la mercancía. Los códigos de uso final son asignados por la Oficina de Análisis Económico del Departamento de Comercio de los Estados Unidos.
SITC Clase estándar de comercio internacional
USDA
HITECH
Anexo B:
8546900000
NAICS:
326199
Clase de uso final:
20005
SITC:
77324
USDA:
1
HITECH:
0

Definiciones de códigos de la Lista B:

Anexo B 8546900000

Electrical Insulators, Nesoi

Código de uso final 20005

Electric Apparatus

Clase estándar de comercio internacional (SITC) 77324

Electrical Insulators Of Material Other Than Glass Or Ceramics

Flete

Información universal / nacional de carga y manejo
NMFC
Clase
UFC
LTL
LCL
WCC
TCC
SHC
ADC
ACC
NMFC:
103300
NMF Descripción:
Insulating Material Noi
UFC:
53360
LTL:
--
LCL:
--
WCC:
72D
TCC:
Z
SHC:
9
ADC:
A
ACC:
H

Definiciones de códigos de carga:

Tipo de carga (TCC) Z

NO SE APLICA NINGÚN TIPO ESPECIAL DE CÓDIGO DE CARGA.

Mercancía de agua (WCC) 72D

.

Productos básicos aéreos (ACC) H

INSTRUMENTOS/EQUIPOS/SUMINISTROS PARA RADIO, COMUNICACIONES, ELECTRICIDAD, LABORATORIO, ETC. (INCLUYE CUERPO DE SEÑALES).

Dimensiones aéreas (ADC) A

EL ENVÍO NO ES UNA CONSOLIDACIÓN Y NO SUPERA LAS 84 PULGADAS EN NINGUNA DIMENSIÓN.

Manejo especial de aire (SHC) 9

OTRO MANEJO ESPECIAL O NINGÚN MANEJO (SH)

Administración

Códigos de gestión por departamento

El precio histórico de este NSN está entre 7.60 and 10.64 USD.
Dependiendo de la cantidad, disponibilidad, condición, plazo de entrega y posible interrupción de un artículo, no podemos garantizar el precio hasta que le proporcionemos un presupuesto actualizado.

Agencia LogÍstica De Defensa

SOS: SMS
AAC: Y
SLC: 0
CIIC: U
REC REP CODE: N
MGMT CTL: -------
USC: I
REC REP CODE DESC:

Fabricantes

Este NSN está registrado con los siguientes códigos de jaula.
Comparar ahora»
Claro | Esconder